
Electronics have begun to control everything about our cars. We have ionized everything from the fuel our engines burn, to the temperature inside the vehicle and now, General Motors has applied for patents that will also control the air-flow around the vehicle.
There are several good reasons for wanting this type of control over the way air flows around the vehicle. Everything from improved fuel mileage to better cooling and higher performance can be obtained by how the air passes around the car. This is nothing new and engineers have been using wind tunnels to hone the path by which they wanted the air to travel for decades.

What is relatively new, is using electronics to change the path, dependent on what characteristics are important at the time. Adding a wing to a race car has proven to improve traction and allow the vehicle to traverse turns that would have ejected an un-winged car from the road under similar conditions. But, the down side is that the car that goes speedily through the turn, also has its top-speed hindered by the additional down force provided by the wing. So, a car that goes slower through the turn, may in fact, be able to pass the winged car on a long straightaway.
The perfect scenario is the ability to increase down-force when needed and remove the additional drag when not warranted. Welcome electronics! With today’s technology, engineers can adjust almost infinitely from maximum down-force to slip-stream drag coefficient and General Motors has just filed for some patents that use a variety of ways of achieving the best of both worlds.
Down With Force
As far back as the ‘60s, cars like the Chaparral race cars used adjustable aero to help down-force and improve top speed. They utilized air ducting at the front of the car that would divert air flow upward, thereby increasing frontal down-force of the car. Down-force at the rear was improved, thanks to a massive rear wing that sat several feet above the body of the car. Both means of aerodynamics were “active” in that the driver could adjust the amount of force generated by these means by depressing a foot pedal on the floorboard whenever less down-force was necessary. This allowed for increased speeds throughout the turns, and on the straights.
Other attempts by the Chaparral crew were even more exotic. Performance of the Chaparral 2J was improved by installing dual fans sourced from a surplus tank engine, exiting the rear of the car that was driven by a separate two-stroke gas engine. A movable skirt underneath the car was designed to provide one-inch of clearance to the road’s surface, thereby providing consistent down-force due to the vacuum created.
Both attempts were relegated illegal in racing for various reasons. The adjustable wing provided inconsistent, and sometimes, uncontrollable amounts of down-force and several accidents resulted from failures of the system. The twin-fan solution provided constant vacuum, but was plagued by mechanical issues, and truth be told, wasn’t looked upon favorably by competitors. Many high-end performance street cars have used active down-force generators and recently, the feature has become more main-stream. Now, General Motors is getting into the game, and it looks as though their budget bruiser, the Corvette, will be the recipient.
Getting Active
Lift is to down-force what vacuum is to atmospheric pressure. It is merely a measurement of higher or lower force. The more air that passes under a vehicle, the more lift it produced. Conversely, the less air allowed to find its way under the car at any given moment, the more down-force it will exhibit. That is why spoilers and side skirting has been the darling of speed engineers for decades and Corvette has made an art of it.

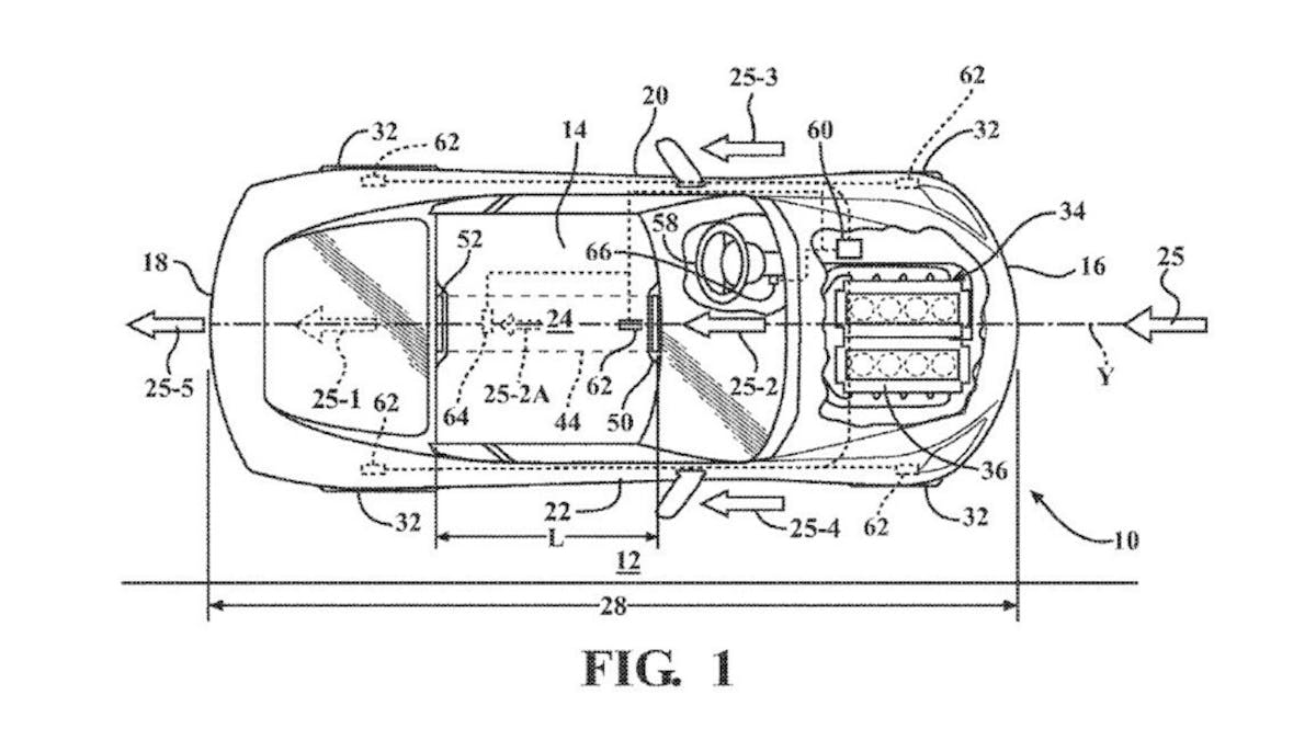
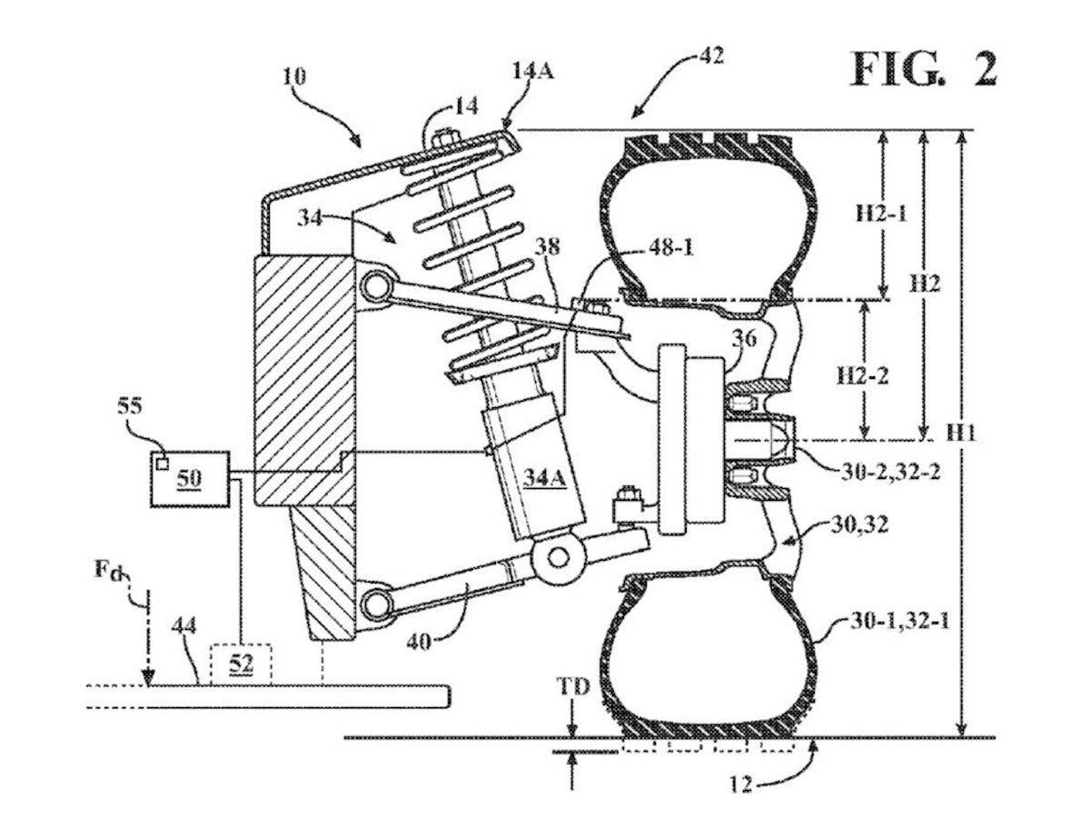
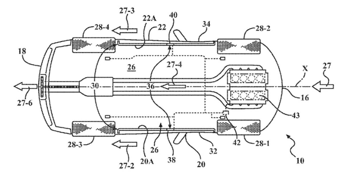
It has been rumored for some time that the next-gen Corvette (C8) will have ride-height adjustment to help control the angle of attack of the vehicle to help control airflow up, around and under the car. Now, there are reportedly three different patents applied by GM to take it even further, using active ducting, spoilers and side-skirts.
There are several reasons for active ducting on a vehicle. Moving air from an undesirable (high-drag) area to a more useful area on the vehicle could do several things. It could decrease lift, improve the vehicle’s drag coefficient and also, the air could be directed to a more useful purpose, such as cooling something during extreme heavy-duty use. GM’s patent reportedly states active duct-work could be utilized both on top, and underneath the vehicle.
Side skirts have been useful for diverting air away from underneath the vehicle and the Chaparral car actually had a form of active skirting to keep down-force consistent. That is nothing new. What this new form does, is utilize a controller that will operate the skirt to move “toward and away from the road’s surface” depending on vehicle speed and road conditions.
The final tidbit deals with active spoilers. Active spoilers have been used by OEMs for some time, mostly as a rear spoiler that becomes more of a novelty than a necessity. Corvettes have had several rear spoiler options since the C6 era and each iteration has become more job-specific than the previous one. While many have been slightly more than aesthetic, others focused more on function than form.
The latest 2019 ZR1’s rear spoilers have been designed with various goals in mind. The low wing helps to streamline airflow and reduce drag at the rear of the vehicle, while the ZR1’s pillared high-wing is centrally focused on producing down-force. With active spoilers, the realm between perfectly flat to almost air-brake can be obtained, dependent on the situation.
Beyond simply “up” or “down”, a fully active spoiler could also adjust height as well as angle of attack. This can adjust for optimum desired down-force, drag coefficient and even assist in braking if needed. The electronics open up the realm of possibilities and various sensors could deliver useful information such as vehicle speed, braking force, vehicle yaw, steering wheel position and even throttle position to help set the optimum attitude for an active rear spoiler.

There’s no doubting that electronics have afforded us some of the most powerful, fuel efficient engines ever seen. Much like making a car lighter is an important part of the performance formula, so now controlling the air around the outside of the vehicle is just as important as controlling the fuel and air that goes into the engine. Performance has become an all-encompassing process when designing a car, and now, it’s also become quite active.
You might also like
Rare 7-speed C7 ZR1 Convertible Comes Out Of Hibernation
Rare Sebring Orange C7 ZR1 7-speed drop-top will cross the block in Dallas At just 1,333 miles, it represents the best of front-engine Vettes