The rumor mill from GM drivetrain has been ablaze lately. Just a few weeks ago, we found out that two new powerplants, both of which are dual-overhead cam V8s, were officially on their way, likely destined for the C8 Corvette. While a DOHC V8 wouldn’t be new to the Corvette, the small displacement would be as it’s rumored that the smallest will displace just 4.2 liters while the “larger” will come in at—a very familiar—5.5 liters.
As if the news of two new mills weren’t enough, AutoGuide has uncovered patents filled by the General for a revolutionary new drivetrain that not only employs both a supercharger and turbocharger in a twin-charger configuration, it also uses a variation on the Atkinson cycle to dynamically control the compression ratio—a method that we’ve been saying would be making its appearance for some time now.

According to AutoGuide, “After eighteen months in review by the United States Patent and Trademark Office, documents published on October 24, 2017 reveal GM has been granted a patent for an internal combustion engine with elevated compression ratio and multi-stage boosting.”
While the patent shows a four cylinder engine, it goes on to mention that the technology would likely be employed on engines with even larger cylinder counts. This could be a ploy by GM to disguise its efforts without full tipping its hand. Before we get down to the twin-charge segment of the patent proposal, lets first look at the Atkinson-type arrangement GM is hoping to use to vary compression ratios.
For some time now, especially after the debut of Nissan’s variable compression engine, we’ve said that the crankshaft doesn’t have to move to change the dynamic compression ratio. You could simply use valve timing events to effectively bleed cylinder pressures to what ever you would like them to be, in essence, controlling the dynamic compression ratio, even if the static compression ratio is rather high.

This is exactly what GM’s proposed new powerplant would do. The engine would be built to a static compression ratio of around 16:1, way outside of what is typically acceptable with today’s pump gas. However, the valve timing would allow the intake valve to stay open longer allowing some of the cylinder pressure to bleed off during the compression stroke leading to a reduced dynamic compression ratio under operation.
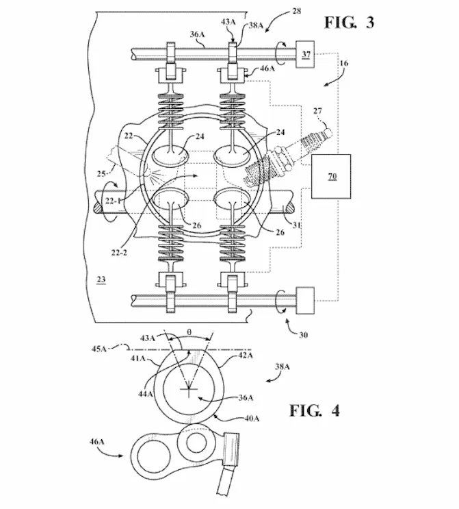
Then, when you are coming off power or simply maintaining a speed, the computer would ramp the compression ratio up, making the engine as efficient as possible since the higher the compression ratio the more efficient the engine becomes (to a point). To achieve this, the patent proposes two different methods. The first is radical new camshaft design combined with a variable-ratio rocker.
The camshaft would quickly open the intake valve and then hold it open—as you can see by the cam’s flat-nose profile. The timing of the valve event would then be controlled by a phaser and the variable rocker. The second method would be a electro-hydraulic actuator that would simply act as a solenoid to open and close the intake valve.

The second method would give GM near infinite control over the new engine’s compression ratio and power band. The crux of all this is direct injection. Since the injector will only fire once the intake valve is closed, the air being pushed back up into the manifold while the valve is held open on a portion of the compression stroke won’t contain fuel, as it would if it were used with a port injection system.
The patent seems to lean toward the camshaft design as GM says they thing that they could keep the intake valves at peak lift for an additional extra 20 degrees of rotation. However, if the camshaft is given the boot completely and the valve timing is directed by the ECM, peak intake dwell could be achieved for 5-80 degrees of crankshaft rotation.
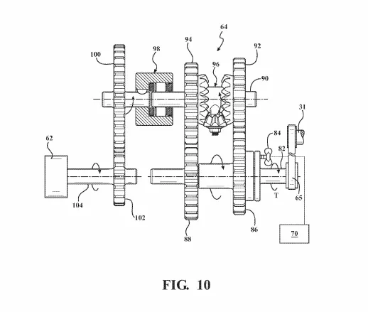
After the document outlines how GM would dynamically control the compression ratio of the new engine, it outlines a series of power adders that would combine to make the powerplant even more efficient. The system would use a combination of a supercharger and turbocharger to produce boost.

The patent mentions that the supercharger would be driven by either a continuously variable transmission or even an electric motor and would be “low flow.” It would handle power production down low. The turbocharger would come on at around 3,000 rpm and would handle boost duties from there. In fact, you can see in the patent that there is actually a valve designed into the system that would allow the turbo to bypass the supercharger completely at higher RPM.
This system would provide the best of just about every world we can think of and is likely the future of the internal combustion engine as we know it. What’s more, the system would all be pared with an electric motor making it a hybrid system. At this point, it’s unclear if the drivetrain is destined for the Corvette or any other vehicle, but at this point you can rest assured that it is very early on in the development phases.
We probably won’t see anything with the technology for perhaps another five years, but it is definitely on its way. That is, if the internal combustion engine holds out until then. For now, we’ll just have to wait and find out. But either way, we can at very least appreciate the engineering that went into to the ideas outlined in the patent.
You might also like
Fire In The Hole: Low-Speed Pre-Ignition, GDI Technology, And The GM LT Engine
The LT V8s make incredible power thanks to GDI, but that tech also creates one of the biggest threats to modern GM performance engines: LSPI.