Way back in 1993, GM introduced a six-speed manual transmission for the Corvette and F-body muscle cars. 20 years later, and the 2014 Corvette comes equipped with an optional 7-speed manual or 6-speed automatic. So despite all the other major improvements to the Chevy supercar, the transmission choices still leave something to be desired.
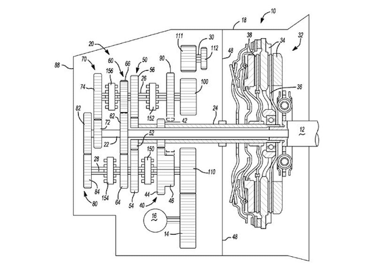
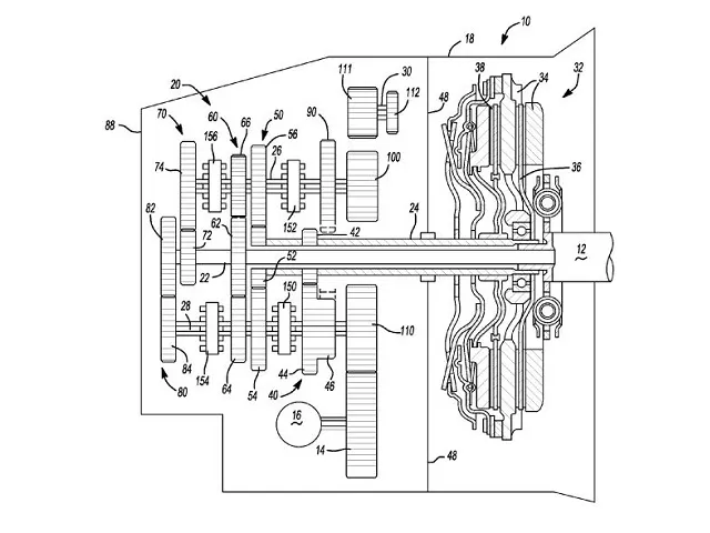
Could a clutchless 7-speed manual transmission be just what the doctor ordered? The CorvetteForum found a patent filing by GM for a 7-speed dual-clutch transmission that could make use of the Stingray’s new paddle shifters. But are Corvette buyers really ready to give up that third pedal?
It depends on who you ask. The 2014 Corvette Stingray has greater ambitions in its quest to conquer new markets, and GM has moved the Corvette upmarket as a result. One big trend among luxury supercar makers has been paddle shifters and clutchless manuals, replacing the traditional three-pedal-and-H-pattern-shifter arrangement to change gears.
Rumor had indicated that an 8-speed automatic could complement the 7-speed manual that the Corvette launched with. But a clutchless automatic could find fans among those with older joints who still want the option of shifting for themselves. Do you think Corvette buyers will embrace a fancy new gadget like a dual-clutch manual? Or do you still prefer to have a good old-fashioned clutch pedal?
You might also like
Check Out This Wild SS Monte Mino Corvette Mashup From SEMA 2025
The SS Monte Mino is a wild fusion of El Camino, Monte Carlo, and Corvette. Debuting at SEMA 2025, it features a full custom carbon body.