Undoubtedly, our favorite thing about the Corvette is its performance– its ability to be a comfortable, gorgeous, and fun daily driver yet easily dominate on the track on weekends. Its a total win-win. We love the Corvette just how it is, but can’t wait to see what tricks Chevy has up their sleeve for the 2018 model year. Active aero may be that trick.
We’ve seen dozens of spy shots and have heard dozens of rumors but here’s the latest buzz: General Motors filing a patent application for “vehicle ride-height determination for control of vehicle aerodynamics.” What does this mean, you ask? This means Chevy has something in the works regarding an active aerodynamics system on an upcoming ‘Vette. Interested? Read on.
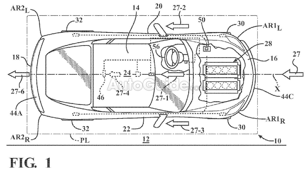
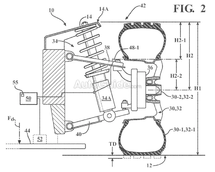
According to AutoGuide, the found document suggests that the system includes a fully adjustable aerodynamic element mounted to the vehicle’s body and “a mechanism configured to vary a position of the adjustable aerodynamic-aid element relative to the vehicle body to thereby control a movement of the ambient airflow relative to the vehicle body.” In addition to adjusting ride height, the system would configure the noted parts throughout the vehicle accordingly: the rear spoiler, air dams, splitters, diffusers, and shutters.
The patent was filed back in May 2016 and published just today, so no guarantee we will see this anytime soon, but its definitely a possibility.
If you have been following along with our spy shots for the upcoming ‘Vette, you may or may not have noticed the multiple styles of rear wings. We were thinking they either were solely for testing purposes or for different trim levels or available packages like those on the C7 Z06, but they seemed far more aggressive than what we’ve seen on Chevy’s production cars thus far. But now we wonder– could one be sporting active aero? What you say?
You might also like
Stars & Steel Chevrolets Celebrate 250 Years Of America
Chevrolet unveils Stars & Steel editions in celebration of America's 250th anniversary. Models include Corvette, Silverado, and Colorado.

